Magnetschloss MU90
Bevor Sie das Magnetschloss in Betrieb nehmen, lesen Sie sich diese Anleitung sorgfältig durch.
Lieferumfang
Im Paketumfang enthalten sind:
- 1x Magnetschloss MU90
3x Magnetschlüssel MK90 (schwarz, orange, blau)
Montagematerial

LED Anzeige
| Status | Grünes Licht | Rotes Licht | Akustisches Signal |
|---|---|---|---|
| Aufbau der Verbindung | x | x | - |
| Angeschlossen | x | - | - |
| Magnetschlüssel anstecken | x | - | x |
| Magnetschlüssel abstecken | x | - | x |
Magnetschloss anschließen
Das Magnetschloss wird mit einem USB-Anschluss mit der Kasse verbunden.
Schritt für Schritt
Um das Magnetschloss anzuschließen sind folgende Schritte der Reihe nach auszuführen:
- Die Kasse muss ausgeschalten sein
- Das Kabel des Magnetschlosses mit dem USB-Anschluss der Kasse verbinden
- Magnetschloss und Kasse auf einem festen Standort platzieren
- Die Kasse einschalten
Das Magnetschloss ist danach sofort einsatzbereit, es ist kein weiteres Setup notwendig.
Schlüssel für Benutzer konfigurieren
Wie die Schlüssel für einzelne Benutzer konfiguriert werden können, wird im Kapitel Schlüssel-Anmeldung beschrieben.
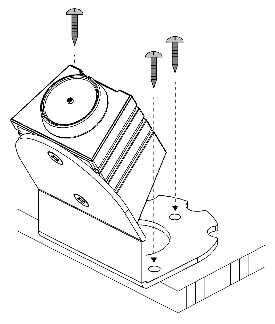
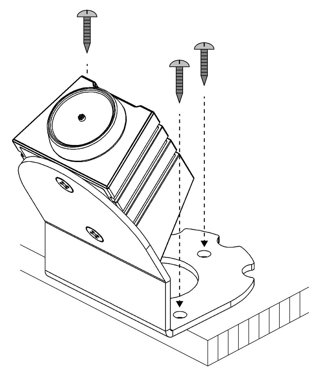
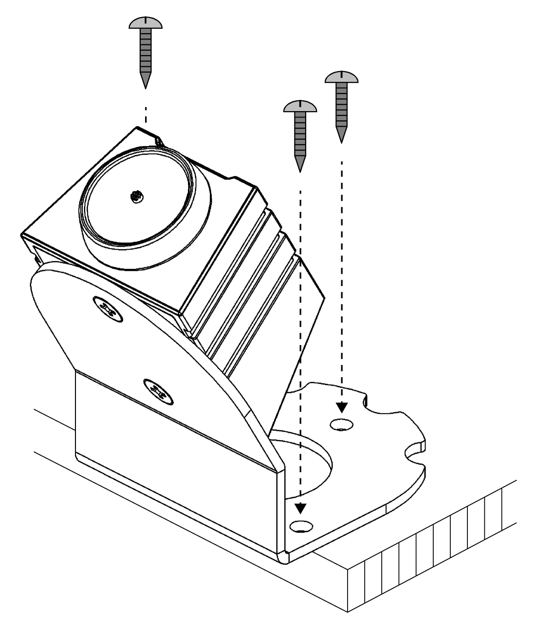
Magnetschloss montieren
Im Lieferumfang ist Montagematerial für die fixe Befestigung des Magnetschlosses enthalten. Nehmen Sie das Magnetschloss, die abgeschrägte Metallplatte und die beigelegten Schrauben aus der Verpackung.
Führen Sie zuerst das USB-Kabel durch das Loch der Metallplatte und setzten Sie das Magnetschloss so auf die andere Seite der Platte, dass die beiden Gewinde an der Unterseite mit den Löchern in der Platte übereinstimmen.

Befestigen Sie das Magnetschloss anschließend mit den beiden kurzen Flachkopf-Schrauben an der Metallplatte.

Nun können sie das Magnetschloss mit den übrigen drei Schrauben an einem festen Untergrund befestigen.
